В сеть всплыли два новых зарегистрированных патента от Ford

Новость
2026-05-09 23:33:12

Это швейцарский армейский нож для разбивания окон.

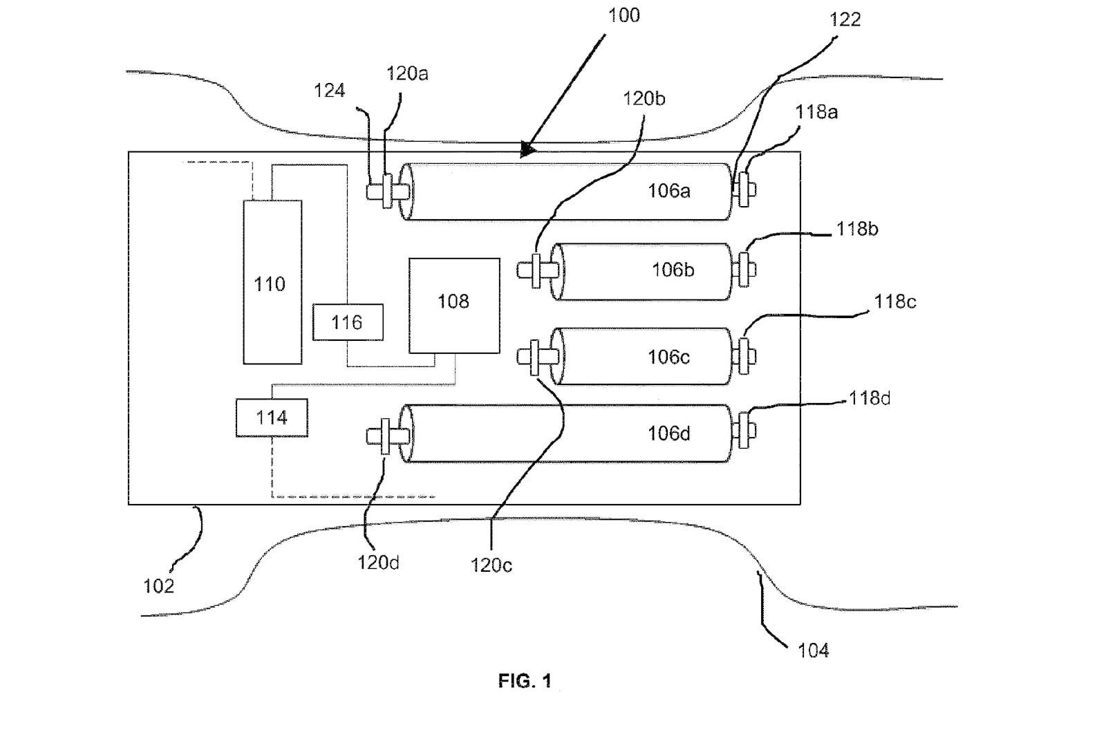
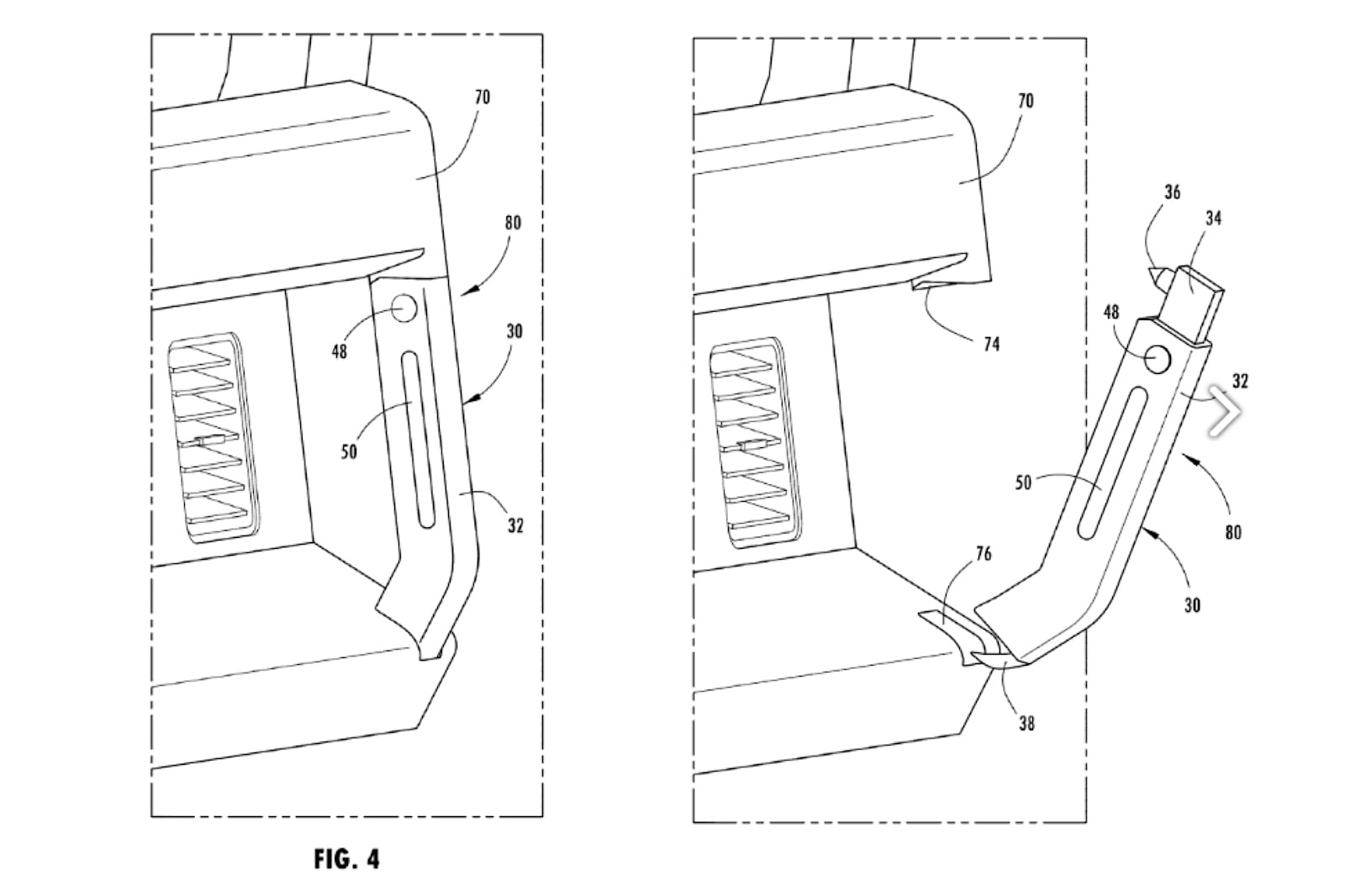
Компания Ford подала патент на устройство для разбивания окон, аккуратно замаскированное под ручку для захвата внутри автомобиля. Иностранное издание обнаружило патент, поданный в Бюро по патентам и товарным знакам США. Как вы можете видеть, ручка для захвата может быть снята, чтобы функционировать как молоток для разбивания окон. Как правильно отмечает Ford, эвакуационные молотки довольно распространены, но у этого инструмента есть несколько трюков в метафорическом рукаве. Он может с легкостью разбить окно, а с другой стороны у него есть режущий инструмент, предназначенный специально для разрезания материала ремней безопасности. В общем, ничего необычного.

Что делает этот инструмент уникальным, так это устройство для передачи радиочастотного сигнала для связи с тонущим автомобилем. Сигнал также может быть использован для определения того, находится ли пассажир все еще в машине или ему удалось выбраться. Это поможет аварийным службам определить местонахождение людей, находящихся в автомобиле. Инструмент Ford также поставляется с аккумулятором и светодиодным фонарем.

Это не отдельное устройство, оно работает с датчиками и коммуникационными устройствами в автомобиле или на нем. Акселерометр автомобиля определит, когда произошла авария, и разблокирует инструмент. Будучи острым предметом, вы не захотите, чтобы дети имели к нему легкий доступ, к тому же он должен работать как ручка для захвата, когда вы не заперты в машине, имитирующей "Титаник". Вы бы также не хотели, чтобы автостопщик взял у вас выкуп, используя часть вашего собственного автомобиля.

По мере погружения автомобиля другой датчик будет следить за уровнем воды. Как только вода поднимется выше уровня колес, сработает аварийный сигнал и загорится светодиодный индикатор. После этого вы будете предоставлены сами себе. Вот тут-то и вступают в игру выключатель и резак.

Если вы освободитесь, сигнал будет продолжать передаваться непосредственно с инструмента, поскольку локатор на автомобиле, скорее всего, в какой-то момент выйдет из строя. Это также полезно, если вы хотите уехать с места аварии, которое все еще опасно.

На эскизах изображен Ford Bronco, но это устройство может быть легко замаскировано в любом автомобиле, который автопроизводитель выпускает в настоящее время. Несмотря на редкость, Национальная администрация безопасности дорожного движения опубликовала отчет, в котором говорится, что с 2004 по 2007 год 384 человека утонули в своих автомобилях. Исследований на эту тему не так много, и по общепринятым оценкам, ежегодно погибает около 20 человек. Австралия настолько обеспокоена этим вопросом, что даже задумалась об утонувших автомобилях в рамках Австралазийской программы оценки новых автомобилей.

Очевидно, что применение этого инструмента выходит за рамки спасения из автомобиля в воде, но, похоже, это основная цель, учитывая датчики воды. В любом случае, это отличный инструмент, который можно иметь в автомобиле на случай любой чрезвычайной ситуации, требующей разбития окна, судя по огромному количеству стеклобоев, которые можно купить в Интернете.

Также Ford всерьез задумался о технологии водородных топливных элементов для грузовиков Super Duty

Голубой овал" подал патент на хранение водородных топливных элементов под полом, и, судя по всему, для этого будет использоваться шасси с коробчатой рамой.

Компания Ford активно работает над изучением новых направлений водородных технологий, о чем свидетельствует патент, опубликованный Европейским патентным бюро и обнаруженный всё тем же изданием. В нем "Голубой овал" подробно описывает систему крепления бака автомобиля на водородных топливных элементах. Как вы, возможно, знаете, водород - относительно летучий элемент, который должен храниться под высоким давлением. Бак должен быть очень прочным, так как он может расширяться при заполнении и сжиматься по мере истощения водорода в процессе потребления.

Для повышения прочности бака, согласно изобретению Форда, бак состоит из двух частей, одна из которых может выдвигаться для увеличения емкости при заполнении бака и задвигаться обратно при сливе, обеспечивая тем самым поддержание оптимального давления водорода. Здесь нет необходимости обсуждать тонкости патента, но он относительно похож на тот, который мы обнаружили у BMW, где несколько небольших баков могут смещаться по отдельности в своих корпусах.

Мы считаем, что это свидетельствует о постоянном интересе Ford к водородной технологии после патента, обнаруженного Muscle Cars & Trucks примерно год назад. В том документе Ford описал двигатель внутреннего сгорания с турбонаддувом, работающий на водороде В этом патенте обсуждается технология водородных топливных элементов, что указывает на то, что Ford рассматривает все возможные варианты. Но почему Ford заботится о водородных электромобилях на топливных элементах (FCEV), когда у него есть несколько полностью электрических автомобилей в производстве и разработке?

Электромобили на аккумуляторах (BEV), такие как Mustang Mach-E и F-150 Lightning, могут обслуживать массы. Тем не менее, существует множество реальных доказательств того, что BEV крайне непрактичны для буксировки, особенно для покупателей автомобилей Super Duty, многие из которых требуют не менее 10 000 фунтов устойчивой буксировочной мощности.

В конце прошлого года генеральный директор Ford Джим Фарли сказал об этом, объясняя, почему эта линейка тяжелых рабочих лошадей не будет использовать технологию BEV в ближайшее время: "Если вы тянете 10 000 фунтов, электрический грузовик - не лучшее решение. А 95% наших клиентов буксируют более 10 000 фунтов. Это действительно важный сегмент для нашей страны, и он, скорее всего, перейдет на водородные топливные элементы, чем на чисто электрические".

Таким образом, мы подозреваем, что этот патент, в котором, судя по всему, используется шасси с коробчатой рамой, нацелен именно на F-250 Super Duty FCEV. Тем не менее, если водородная технология продолжит совершенствоваться, нет причин, по которым она не может быть адаптирована к вашему Explorer.