Обновленный сервис и умное магнитное зарядное устройство от Ford

Новость
2026-01-19 09:16:43

Больше не нужно сидеть в неудобном кресле и пить ужасный кофе.

Ford только что продлил свои контракты на пикапы, доставку и мобильную связь, которые начали действовать во время пандемии. Эти услуги позволяют владельцам автомобилей бренда записываться на техническое обслуживание, не выходя из дома и не заходя в дилерский центр. Это означает, что вам не придется смотреть дневной телевизор, сидя в неудобном кресле и потягивая дешевый кофе.

"Клиентам, которые уже испытали Pickup & Delivery и Mobile Service, нравится удобство и гибкость", - сказал Тодд Раборн, региональный директор CX в Северной Америке. "Эта программа расширяет доступ клиентов к удаленным вариантам обслуживания, так что если у вас подошел срок замены масла или вам необходимо решить проблему отзыва, теперь вы сможете обслужить свой автомобиль с меньшими потерями для своей жизни, занятий и людей, о которых вы заботитесь".

"Мы работаем с различными командами Ford, чтобы предложить нашим клиентам больше способов персонализировать обслуживание автомобиля", - сказал Тим Ховик, председатель Национального совета дилеров. "Расширяя предложения по дистанционному обслуживанию, мы можем ускорить нашу способность быть рядом с клиентами в любое время и в любом месте, где мы им нужны".

С услугой Pickup & Delivery вы можете попросить дилерский центр забрать ваш Ford Escape из дома или с работы, отвезти его на обслуживание, а затем вернуть машину после завершения работ. Если ремонт незначительный, мобильный сервис может отправить механика в фургоне для выполнения работ в выбранное место. Дилерские центры все еще должны отказаться от предоставления этих услуг, но исследование JD Power 2022 U.S. Customer Service Index (CSI) Study показывает, что клиенты, которые пользовались подобными опциями, с большей вероятностью будут рекомендовать эту марку своим друзьям и родственникам. Дилеры могут устанавливать свои собственные ограничения на обслуживание и пробег, так что, похоже, в их интересах предлагать эти программы. Для владельцев, которым трудно отдать машину на обслуживание в обычное рабочее время, это изменит ситуацию. Возможно, это не позволит людям полностью избежать посещения дилера, но это шаг в правильном направлении.

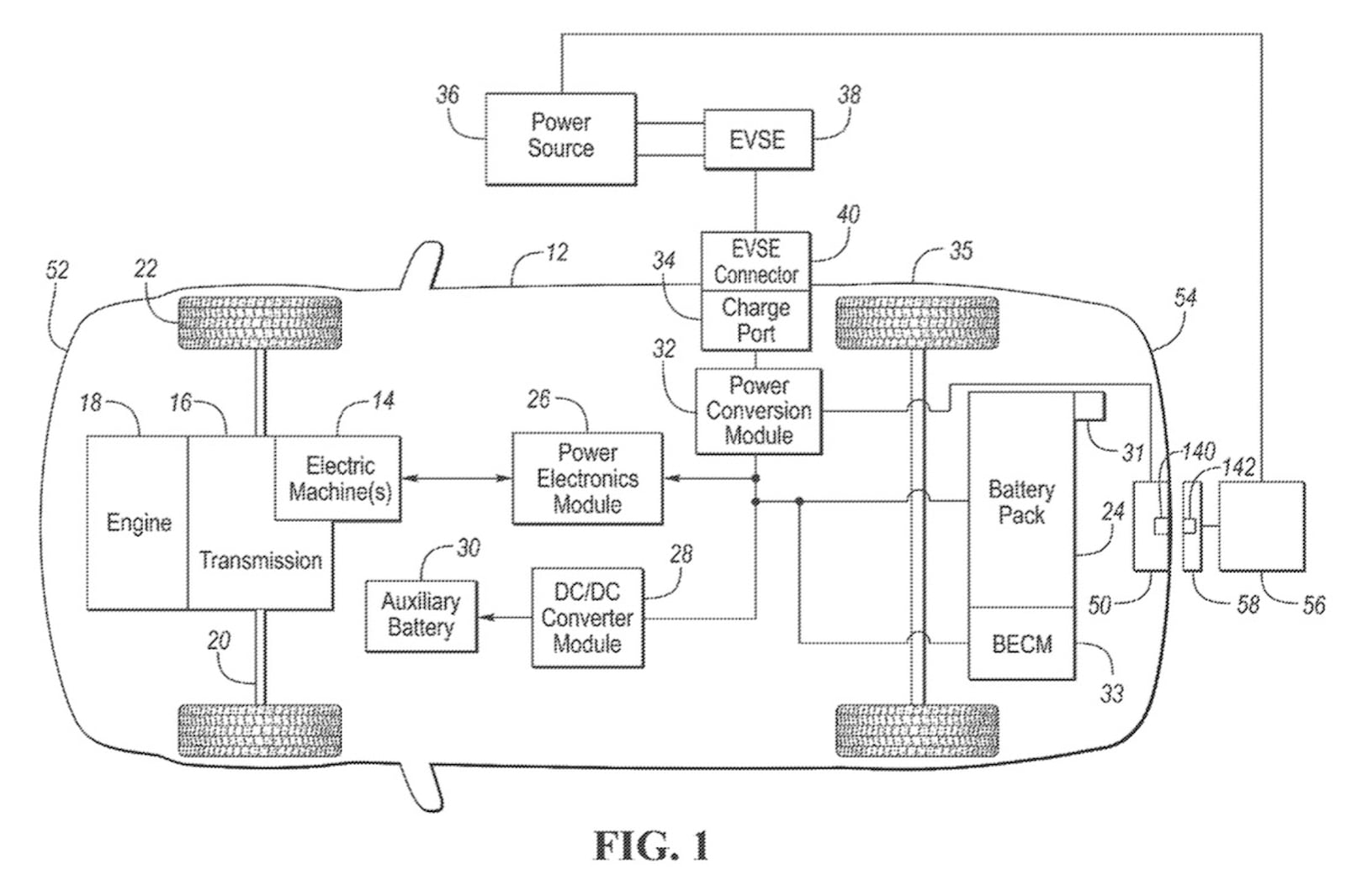
Компания Ford подала новую патентную заявку на удобное магнитное зарядное устройство для электромобилей, которое позволяет подключать автомобиль к источнику питания, не вставая с водительского места. 

Заявка подана в Бюро по патентам и товарным знакам США (USPTO). Правда, это может затруднить ваши навыки парковки. Используя сильное магнитное притяжение, порт зарядки в бампере EV может быть легко соединен с разъемом, подобно магнитному MagSafe, который можно использовать для зарядки некоторых устройств Apple. Подключаемые гибриды также смогут воспользоваться этой технологией, причем бренд планирует, что она будет работать как на переменном, так и постоянном токе. Еще лучше то, что магнитный разъем может быть установлен на EV с обычными портами.

Многие владельцы EV знают, что такое возиться с громоздкими зарядными кабелями, особенно в небольших, более тесных помещениях или в плохую погоду. Идея компании позволяет обойтись без кабеля, хотя новая проблема возникает при совмещении порта машины с точкой зарядки. Чтобы обойти эту проблему, в конструкцию новинки будет включено определенное количество шарниров, чтобы физическое соединение было возможным, пока порт находится достаточно близко к точке зарядки; другими словами, ваши навыки парковки должны быть довольно низкими, чтобы зарядное устройство оказалось неработоспособным.

Конечно, если патент уже подан, это еще не значит, что технология дойдет до производства, и модифицировать все существующие зарядные пункты будет непросто. Просто привести существующую сеть станций в соответствие со скоростью - уже само по себе сложная задача. Ford занимает второе место по продажам электромобилей в Америке, уступая лишь Tesla. Это во многом благодаря успеху Mustang Mach-E и F-150 Lightning - двух моделей, которые выиграют от использования магнитного зарядного устройства. Как и герой наших новостей, другие автопроизводители и отраслевые эксперты постоянно ищут способы сделать процесс зарядки более простым и приближенным к простоте заправки кара с ДВС. Возможно, беспроводная зарядка EV будет готова еще не скоро, но эта технология уже тестируется в Германии, а Мичиган стоит в очереди на проведение собственных испытаний.

Внимание уделяется не только зарядке EV, но и тому, как за нее платить. Новые функции, такие как Autocharge+ от EVgo, представленные в прошлом году, упрощают процесс подключения и оплаты зарядки, предоставляя это удобство водителям EV, которые не владеют Tesla и не могут воспользоваться обширной сетью Supercharger этой марки. Будем надеяться, что новое магнитное зарядное устройство не станет еще одной разумной идеей, которая будет положена на полку и так и не дойдет до производства.