Обновленные плафоны придадут привлекательности Mustang'у

Новость
2026-04-17 21:34:58

Это изобретение позволит привести в порядок внешний вид передней части автомобиля и добавит функциональности.

Американская автомобилестроительная компания Ford разработала способ скрыть неприглядные дополнительные лампы, такие как противотуманные фары и прожекторы, с помощью новых самоспрятывающихся световых блоков, которые могут показывать или скрывать освещение в зависимости от ваших потребностей. По сути, это все равно, что купить новый Mustang Mach 1 и иметь функционирующие прожекторы, спрятанные за панелями в решетке радиатора, которые могут появляться и исчезать по мере необходимости. Это следует из патента, обнаруженного в Бюро патентов и торговых марок США (USPTO).

Согласно этому патенту, противотуманные фары, боковые маркеры и габаритные огни вскоре могут быть объединены в единый блок и будут становиться видимыми только по мере необходимости. По сравнению с последними тенденциями в области переднего освещения, это удивительно тонкий подход, но он отлично модернизирует будущие Ford. В качестве бонуса, эти интеллектуальные световые приборы будут более функциональными, чем обычные конструкции. Технология в этом “изобретении” не совсем новая и связана с токопроводящими защитными панелями, которые могут становиться непрозрачными или прозрачными по мере необходимости, а также излучать свет разных цветов и интенсивности в зависимости от условий эксплуатации. BMW придумала похожую технологию для фар, которые исчезают в решетке радиатора, в то время как Audi также рассматривала подобную технологию.

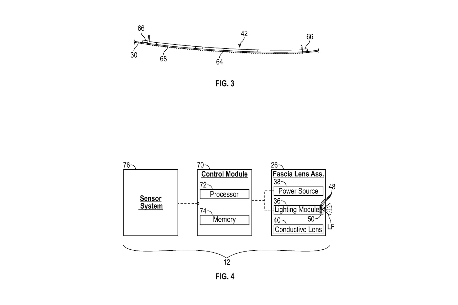
Интегрированная проводящая внутренняя линза может состоять из различных секций, которые могут быть подключены к различным источникам света. Эти источники света обычно представляют собой светодиоды в одноцветной или многоцветной форме, интегрированные или иным образом оптически связанные с внутренней линзой. Самое интересное, что эти защитные панели имеют внутренние линзы, которые могут стать полностью непрозрачными и пропускать только свет, созданный в самой панели, или же они могут стать полностью прозрачными, чтобы свет от отдельной противотуманной фары, расположенной за защитной панелью, беспрепятственно проникал сквозь нее. Скорее всего, это достигается с помощью технологии электрохромного покрытия линз, которая позволяет варьировать светопропускаемость через покрытие.

На внешние линзы световых приборов также может быть нанесена специальная краска, скорее всего, лазерная, позволяющая свету проходить через них, когда световые приборы активны, но остающаяся незаметной в цвете кузова, когда свет не излучается световыми приборами или противотуманными фарами позади них. В качестве альтернативы, встроенные световые излучатели в этих блоках могут изменять свой цвет излучения в соответствии с цветом переднего бампера, чтобы стать практически невидимыми в неактивном состоянии, в то время как в активном состоянии они будут излучать свет различных цветов и интенсивности для выполнения различных функций.

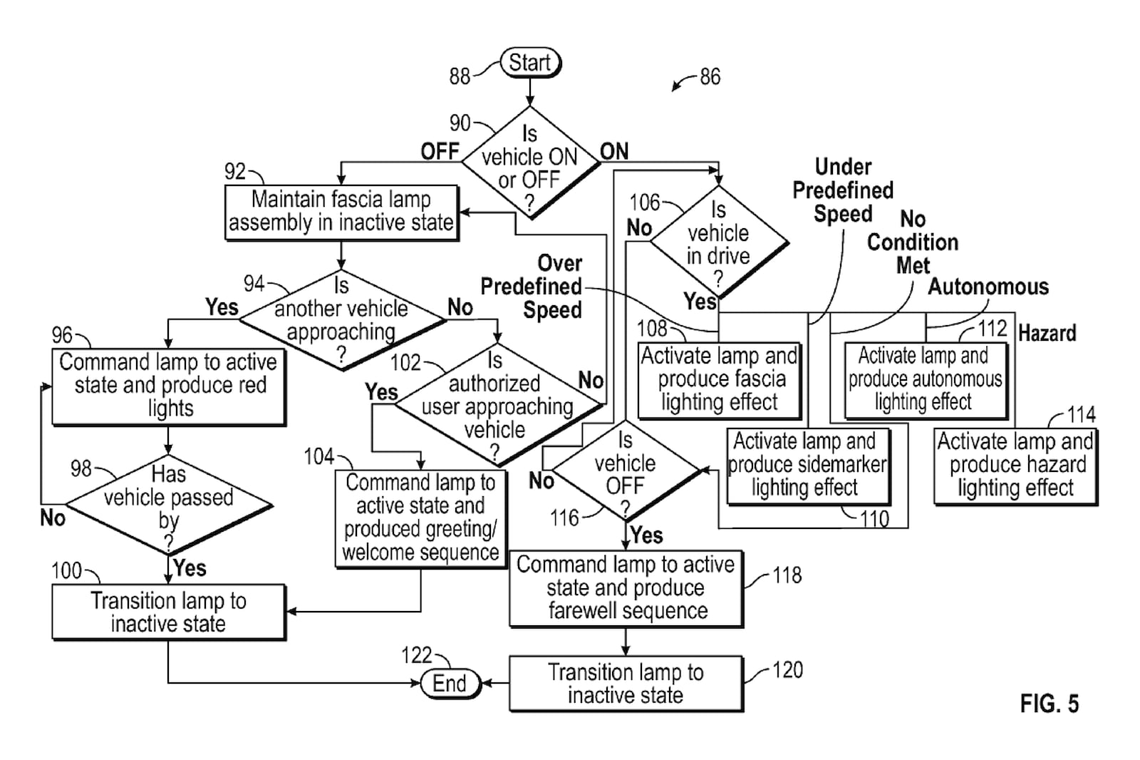
Функциональность улучшается, поскольку отдельные световые приборы могут выполнять несколько функций, таких как боковые маркеры, габаритные огни, поворотные огни и подсветка для следования за домом. Световые приборы могут также показывать снаружи, включено или выключено транспортное средство, изменять интенсивность и цвет, чтобы дать представление о скорости или направлении движения транспортного средства, и даже показывать, движется ли транспортное средство с работающими системами помощи водителю.

Наконец, в случае столкновения весь световой прибор может превратиться в яркую и негабаритную янтарную или красную мигалку для более эффективного предупреждения других участников дорожного движения. На проводящие линзы можно также проецировать предупреждающие треугольники, чтобы еще больше донести информацию. Именно такие умные, сравнительно простые и полезные инновации нужны автомобилю в будущем, и решение голубого овала для будущих требований демонстрирует, что для этого не обязательно использовать сверхмощные светодиодные массивы.